


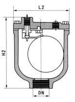
單桿式(SIMPLE LEVER TYPE)微量排氣閥,為一類似橢圓形閥體,內部所有零件包括浮球,杠桿,閥座等均為304不銹鋼,內部使用標準排氣孔1/6″,適合用于PN16工作壓力環境。介質溫度:0~80℃
AVAX型自動排氣閥主要應用于暖通空調系統,往往安裝在制高點或彎頭等處,以排除管道中多余氣體、提高管路使用效率及降低能耗。介質溫度:0~80℃
公稱壓力:1.0~1.6MPa
適用介質:水、油等非腐蝕性液體
公稱通徑:10~25mm
試驗便準:GB/T 13927 API598
名稱:閥蓋、閥體、浮球 杠桿、杠桿架、 塞頭
材質:球墨鑄鐵 304不銹鋼 合成橡膠
全銅

| DN | 10(3/8″) | 15(1/2″) | 20(3/4″) | 25(1″) |
|---|---|---|---|---|
| L1 | 47 | 47 | 47 | 47 |
| H1 | 113 | 113 | 113 | 113 |
| L2 | 102 | 102 | 102 | 102 |
| H2 | 127 | 127 | 127 | 127 |
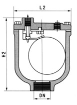
單桿式(SIMPLE LEVER TYPE)微量排氣閥,為一類似橢圓形閥體,內部所有零件包括浮球,杠桿,閥座等均為304不銹鋼,內部使用標準排氣孔1/6″,適合用于PN16工作壓力環境。介質溫度:0~80℃
AVAX型自動排氣閥主要應用于暖通空調系統,往往安裝在制高點或彎頭等處,以排除管道中多余氣體、提高管路使用效率及降低能耗。介質溫度:0~80℃
公稱壓力:1.0~1.6MPa
適用介質:水、油等非腐蝕性液體
公稱通徑:10~25mm
試驗便準:GB/T 13927 API598
名稱:閥蓋、閥體、浮球 杠桿、杠桿架、 塞頭
材質:球墨鑄鐵 304不銹鋼 合成橡膠
全銅

| DN | 10(3/8″) | 15(1/2″) | 20(3/4″) | 25(1″) |
|---|---|---|---|---|
| L1 | 47 | 47 | 47 | 47 |
| H1 | 113 | 113 | 113 | 113 |
| L2 | 102 | 102 | 102 | 102 |
| H2 | 127 | 127 | 127 | 127 |
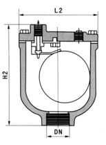
單桿式(SIMPLE LEVER TYPE)微量排氣閥,為一類似橢圓形閥體,內部所有零件包括浮球,杠桿,閥座等均為304不銹鋼,內部使用標準排氣孔1/6″,適合用于PN16工作壓力環境。介質溫度:0~80℃
AVAX型自動排氣閥主要應用于暖通空調系統,往往安裝在制高點或彎頭等處,以排除管道中多余氣體、提高管路使用效率及降低能耗。介質溫度:0~80℃
公稱壓力:1.0~1.6MPa
適用介質:水、油等非腐蝕性液體
公稱通徑:10~25mm
試驗便準:GB/T 13927 API598
名稱:閥蓋、閥體、浮球 杠桿、杠桿架、 塞頭
材質:球墨鑄鐵 304不銹鋼 合成橡膠
全銅

| DN | 10(3/8″) | 15(1/2″) | 20(3/4″) | 25(1″) |
|---|---|---|---|---|
| L1 | 47 | 47 | 47 | 47 |
| H1 | 113 | 113 | 113 | 113 |
| L2 | 102 | 102 | 102 | 102 |
| H2 | 127 | 127 | 127 | 127 |